什么是Diamante?什么是DIAM币?DIAM有什么作用?本文将深入探究 Diamante 项目,围绕团队背景、技术架构、旗舰产品、生态建设和以 $DIAM 为核心的经济模型等,为用户展示项目发展潜力与面临的挑战。下面就和币界网小编一起看看吧!
什么是 Diamante?
Diamante 是一个混合 L1 区块链,通过提供一套完整的开发工具帮助开发人员在网络中无缝运行 Dapps 和各种机构应用程序,涵盖 DeFi、NFT、游戏、资产发行、供应链管理、医疗保健等多个应用场景。
为提高网络性能和跨链兼容性,Diamante 最大的特性之一是采用了三层共识机制:DPoS、PoH 和 aBFT,允许每秒高达 100,000 笔交易 (TPS),并在 1-4 秒内完成实时结算。同时,Diamante 还集成了 Dilithium 数字签名和 Kyber 密钥封装等算法,来增强网络的安全性和弹性。
Diamante 的目标是实现数字经济的民主化,因此团队极为重视生态应用建设。Diamante 自主研发了多个旗舰产品,比如:支付应用 PayCircle、金融产品 CreditCircle 等,同时还积极在全球范围内开展黑客松等活动来支持人才和创新项目,并为优质项目提供资金、技术、资源等多方面支持。
$DIAM 是 Diamante 生态核心代币,总供应量为 100 亿枚,支持 Diamante 和 BNBChain 双网络。$DIAM 在 Diamante 生态中发挥着关键作用,比如:促进交易、实现治理、访问生态产品和服务等。
Diamante怎么样?
Diamante 是一个混合 L1 区块链平台,通过创新的多层共识机制实现高效安全的交易处理。它集成量子抗性算法以增强网络安全性,并提供了包括 PayCircle 支付应用和 CreditCircle 金融产品在内的多个生态应用。平台以 $DIAM 代币为核心,总供应量 100 亿,支持生态治理和交易支付等功能。尽管面临一些技术和生态建设的挑战,但 Diamante 通过持续的产品优化和合作伙伴拓展,正努力推动区块链技术的大规模应用。
在不断发展的量子计算面前,传统加密行业面临着前所未有的威胁,尤其是去年谷歌新款量子芯片 Willow 的现世更是让整个加密社区如临大敌。尽管目前主流观点认为,大规模量子攻击需要 10-20 年才可能实现,但在如影随形的压力面前,加密行业也在不断寻求技术升级和生态合作,以共同应对潜在的风险。
Diamante 的存在,便是为了满足量子计算进步而带来的对安全和可扩展区块链解决方案的需求。它通过采用量子抗性加密技术,如 Dilithium 数字签名和 Kyber 密钥封装来确保长期弹性。同时,Diamante 还利用委托权益证明 (DPoS)、历史证明 (PoH) 和异步拜占庭容错 (aBFT)三层共识,构建了一个安全、高效且适应性强的生态系统,支持开发人员轻松创建各种类型的去中心化应用。
团队背景及融资
据在线融资创业平台 Wefunder 显示,Diamante 成立于 2018 年,曾在 2022 年 2 月从该平台和其他天使投资人手里筹集了 130 万美元。
Diamante 的两位创始人 Dinesh Patel 和 Chirag Jetani 均来自世代以宝石和珠宝为生的家庭,Dinesh Patel 在孟买、以色列、比利时和美国等主要市场中心拥有 25 年以上的钻石交易经验,同时也是 Honey Star Inc 创始人,Chirag Jetani 除了长期经营钻石业务外,还是一名经验丰厚的工程师。此外,Diamante 的其他核心成员也拥有着丰厚的金融和区块链行业经验,比如首席财务顾问 Erik Jens 曾就职于荷兰银行等全球金融机构。
据 Diamante 表示,在过去数年中,团队与众多业内外公司达成了战略合作,比如阿布扎比王室 Sheikh Mohamed Bin Ahmed Bin Hamadan Al Nahyan 殿下的私人办公室、AWS、Azure、印度银行数字基础设施公司 (IBDIC)、QuillAudits、TransBnk、Credshield、Binamite、HyperSign 等,以进一步促进区块链的采用。
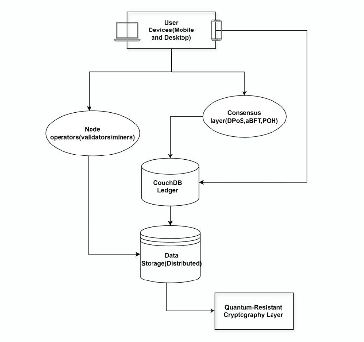
Diamante 技术架构
Diamante 系统框架主要由应用层、共识层、数据层和合约层构成,它利用量子抗性加密、混合共识机制和模块化架构构建了一个安全、高效的区块链网络,其核心技术栈包括:
(来源:diamante.gitbook.io)
1)多层共识机制
Diamante 采用三层共识算法确保网络可以快速、安全地处理大量交易,其中:
- 委托权益证明 (DPoS):第一层共识算法,用于快速创建区块,侧重高吞吐量和验证者网络治理;
- 异步拜占庭容错 (aBFT):第二层共识算法,用于最终确定和安全性,即使在部分节点出现故障或恶意行为的情况下,也能保持网络安全性;
- 历史记录证明 (PoH):第三层共识算法,用于无需信任的交易优化排序,从而显著提高共识效率,降低网络延迟。
通过这三种共识机制的混合使用,Diamante 试图兼具比特币的安全性、以太坊的可用性和 Solana 的速度,以实现最高级别的安全性、可扩展性和跨链兼容性。不仅如此,Diamante 还集成了 Sync Bridge 和 Binance Greenfield Chain,并提供与其他网络的无缝互操作性和流动性。
2)CouchDB 分布式账本
Diamante 通过将 CouchDB 集成到架构中以增强网络的可扩展性和效率,它使用 JSON 格式存储数据,具备极高的灵活性,同时支持多版本并发控制(MVCC)和 HTTP API,方便开发人员集成和使用。
更重要的是,CouchDB 的轻量级和高效同步特性极其适合移动设备,支持移动节点在离线状态下操作,并在重新连接时轻松同步数据,这一优势使得 Diamante 可以被更广泛的设备和用户访问。
3)量子抗性算法
为应对潜在的量子计算威胁,Diamante 通过集成 Dilithium 和 Kyber 这两种后量子密码学算法来确保高效计算和较低的通信成本,并适用于网络通信、身份验证等应用场景。
其中,Dilithium 是一种数字签名算法,相较于其他后量子签名算法具有较小的密钥和签名大小,从而保持高效率,以及能够提供多个安全级别的灵活性。而 Kyber是一种密钥封装机制,在密钥生成、封装、解封装和共享方面表现出色,极具安全性、高效性和兼容性。
Diamante 生态建设
Diamante 致力于区块链网络与现有金融基础设施的无缝连接。因此, 团队自主研发了数款产品,以用户有好的方式帮助用户快速访问生态系统。
- DIAM Wallet:支持 iOS、Android 和插件系统,允许用户安全地发送、接受和存储各种加密货币。
- PayCircle:一款专为全球企业和个人打造的 DeFi 支付应用程序,支持法币和加密货币的即时交易。PayCircle 利用多种措施来确保交易安全,包括高级加密 (AES-256) 、多因素身份验证 (MFA) 和 AI 驱动的欺诈检测算法等。同时,PayCircle 重视合规,遵守 PCI-DSS 等国际监管标准和 GDPR 等数据隐私法规。
- CreditCircle:一款 DeFi 金融产品,支持个人和企业以低利率进行贷款和信贷。CreditCircle 提供基于信用评级的灵活融资选择,用户可以托管他们的股票、债券、奢侈品和数字资产等来进行融资。
- MudraCircle:专注于中央银行数字货币 (CBDC) 解决方案。
- MetaCircle:创建了一个全面的虚拟经济,用户使用 $DIAM 来进行访问,例如虚拟银行、虚拟房地产和元宇宙体验等。
- ChainCRM 和 NodeHRM:与 HyperLedger Fabric 类似,Diamante 也提供私有区块链服务,专注于为企业提供区块链解决方案。ChainCRM 是基于区块链的 CRM(客户关系管理)平台,支持跟踪销售和客户互动,提供实时分析、预测洞察和自动化功能。NodeHRM 则是基于区块链的人力资源管理软件,通过改变招聘、入职、绩效管理等方式提高人力资源运营效率。
除了上述产品外,Diamante 并没有停止开发的脚步,团队将在未来上线更多针对不同用户群体的工具和服务。与此同时,为了迅速扩展生态系统,Diamante 正在通过举办黑客松活动、启动 Grant 计划、建立更广泛的合作伙伴关系等措施来推动创新。
据官网显示,目前已经有超过 120 个应用入驻 Diamante 生态,覆盖基础设施、NFT、DeFi、游戏、社交、DePIN 等领域。部分生态项目如下图所示:
(来源:diam-io.medium.com)
以 $DIAM 为核心的经济模型
在 Diamante 生态系统中,$DIAM 是核心代币,拥有治理和实用等多重作用。$DIAM 总供应量 100 亿,目前在 Diamante 和 BNBChain 网络流通。
根据官方释出的信息,$DIAM 具体分配比例如下:
不过,团队并未提供更详细的信息,比如 $DIAM 的分发时间表等。至于持有 $DIAM 的好处,目前具体表现为:
- 访问平台产品和服务:例如用户可以在 PayCircle 中使用 $DIAM 来支付交易;
- 生态治理:用户持有和质押以参与生态建设,拥有提案权、投票权等;
- 质押:持币用户可参与 dStake 活动,支持跨链质押资产以赚取奖励。
值得注意的是,$DIAM 采用通缩机制,当涉及到 Diamante 生态内的用户交易时,每一笔都会以编程方式销毁特定数量的 $DIAM,从而有助于提升其稀缺性。
未来展望与挑战
从现阶段动态来看,团队正在升级网络,持续打磨产品,并携手合作伙伴促进生态应用建设。为了覆盖更广泛的用户群体,团队正在积极地在不同国家和地区举办线下活动,包括越南、伊斯坦布尔、中东、新加坡、东京等地,以持续搭建多元化社区,不断提高市场影响力。
接下来,Diamante 将继续推进与更多优质开发人员、项目方、企业之间的合作交流,通过为 $DIAM 创造应用场景来进一步提升它的价值,并促进 Diamante 区块链的大规模普及和落地。不仅如此,Diamante 还专注于将 AI、IoT 和 Metaverse 等最新技术与其区块链解决方案相结合,为医疗保健、金融和供应量管理等领域提供驱动力。
不过,在此过程中,团队也需要以灵活、积极的态度应对潜在的一系列挑战,比如:
- Diamante 的愿景之一是能够抵抗量子计算带来的威胁,团队需要确保技术的前瞻性,持续与业内外合作以不断集成最新的量子抗性算法,并通过定期模拟攻击以评估网络安全性。例如,Dilithium 作为 NIST(美国国家标准与技术研究院)后量子密码学标准化进程中的重要候选算法之一,已进入第四轮评估,并在其迭代升级计划中持续优化。
- 尽管 Diamante 号称其 TPS 高达 100,000,但区块链浏览器最新数据显示,其平均交易速度目前是 5.62,存在极大的差距。团队需要激励更多用户和生态应用参与,以增加网路的实际负载,并持续进行压力测试以确保网络性能。
- 目前,Diamante 网络钱包创建数量已超过 172 万,生态应用数量也在持续增长中,但生态活跃度和影响力有限,团队需要加强市场推广和社区建设,支持更多创新应用场景。
- 作为金融应用领域的深耕者,Diamante 需要在隐私数据安全、合规性、跨链互操作性等方面持续优化。
Diamante的长期价格预测:2026年、2027年、2028年、2029年、2030年、2031年和2036年
Diamante 2025 年价格预测
Diamante 对 2025 年的价格预测表明,平均价格可能在低端的 $0.010028 和高端的 $0.023949 之间。相比于今天的平均价格,在加密市场中,如果 DIAM 达到预测的目标价格,Diamante 可能在 2025 年之前增长 118.81%。
Diamante 2026-2031 年价格预测
DIAM 对 2026-2031 年的价格预测目前在低端的 $0.006781 和高端的 $0.033423 之间。考虑到市场的价格波动,如果 Diamante 达到上限价格目标,到 2029 年,它可能相比今天的价格增长 205.37%。
| Diamante 价格预测 | 潜在最低 ($) | 平均价格 ($) | 潜在最高 ($) |
|---|---|---|---|
| 2026 年 | $0.003529 | $0.007558 | $0.011587 |
| 2027 年 | $0.004341 | $0.006781 | $0.009222 |
| 2028 年 | $0.007142 | $0.0152016 | $0.023261 |
| 2029 年 | $0.018248 | $0.033423 | $0.048597 |
| 2030 年 | $0.007161 | $0.014785 | $0.0224085 |
| 2031 年 | $0.009765 | $0.014239 | $0.018713 |
Diamante 2031-2036 年价格预测
Diamante 对 2031-2036 年的价格预测目前估计在低端的 $0.014239 和高端的 $0.080075 之间。相比当前价格,如果达到上限价格目标,Diamante 到 2036 年可能增长 631.6%。请注意,此信息仅供一般参考,不应被视为长期投资建议。
| Diamante 价格预测 | 潜在最低 ($) | 平均价格 ($) | 潜在最高 ($) |
|---|---|---|---|
| 2031 年 | $0.009765 | $0.014239 | $0.018713 |
| 2032 年 | $0.016893 | $0.039462 | $0.062031 |
| 2033 年 | $0.037029 | $0.067821 | $0.098613 |
| 2034 年 | $0.014532 | $0.029598 | $0.044664 |
| 2035 年 | $0.024539 | $0.033448 | $0.042357 |
| 2036 年 | $0.034279 | $0.080075 | $0.125871 |
结语
作为混合 L1 区块链,Diamante 在架构设计上创新引入了多层共识机制,并通过集成 Dilithium 和 Kyber 等算法来提升网络的安全性、灵活性和弹性,具备一定的创新性。同时,团队也在积极扩展生态版图,通过为开发人员提供多方位的支持来鼓励应用创新。
不过,在生态系统逐步扩张的过程中,Diamante 系统的复杂性也要求团队投入更多的精力来进行市场教育和培训。更为关键的是,团队需要持续赋能 $DIAM,通过引入更多的实用场景为其注入更多价值支撑。
以上就是币界网小编给大家分享的什么是Diamante?DIAM代币经济学、未来展望、价格预测的详细介绍了,希望大家喜欢!
声明:文章内容不代表本站观点及立场,不构成本平台任何投资建议。本文内容仅供参考,风险自担! 关键词:DIAM




USDT(TRC20主网)打赏
微信打赏